中航智能化財務審計系統
一.軟件介紹
ADT智能審計軟件系統是我公司將人工智能技術應用到審計行業的一次實踐,人工智能技術的引入使得財務審計變得更加高效和精準。通過機器學習和數據挖掘等技術,人工智能可以快速分析海量的財務數據,識別出潛在的風險和異常情況,大大提高了審計的效率和準確性。同時,人工智能還可以自動化執行一些重復性高的審計工作,釋放審計人員的時間和精力,讓他們更多地專注于審計過程中的關鍵問題
二.軟件特色
人工智能還可以在財務審計軟件中實現自動化審計。通過人工智能技術,審計軟件可以自動識別和識別財務數據中的規律和異常,自動生成審計報告和建議,減少了人工干預的需求,提高了審計的效率和可靠性。
人工智能還可以在財務審計軟件中實現智能風險評估。利用人工智能技術,審計軟件可以對企業的財務數據進行全面分析,識別潛在的風險點和問題,提前預警并給出相應的建議,幫助企業及時防范風險,保障財務安全。
人工智能在財務審計軟件中的具體應用為審計工作帶來了革命性的變革。它不僅提高了審計的效率和準確性,還為企業提供了更加可靠的財務信息和風險評估,有助于企業的持續發展和穩健經營。隨著人工智能技術的不斷發展和完善,相信在未來,人工智能將在財務審計領域發揮越來越重要的作用。
三.軟件部分功能展示
1.自動識別與報告
審計軟件可以自動識別和識別財務數據中的規律和異常,自動生成審計報告和建議

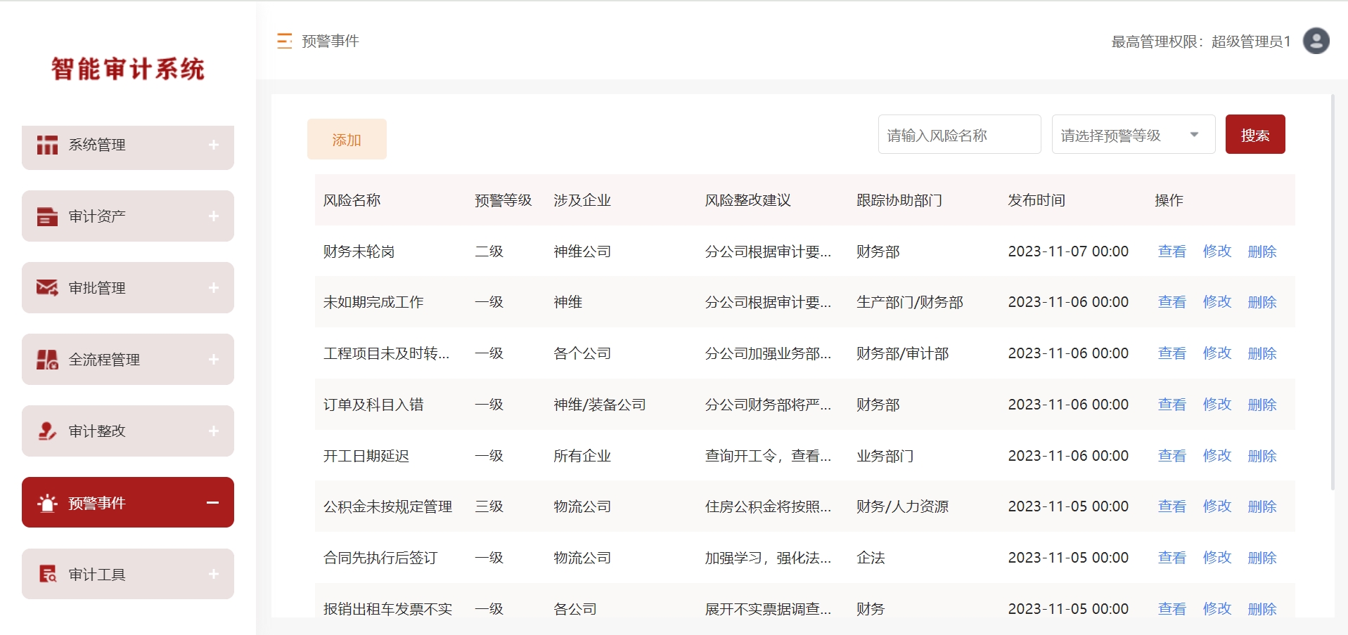
2.智能風險評估
審計軟件對企業的財務數據進行全面分析,識別潛在的風險點和問題,提前預警并給出相應的建議,幫助企業及時防范風險,保障財務安全

3.審計全流程管理
審計全流程管理是一種全面的管理方法,旨在確保審計活動的高效性和準確性。該方法涵蓋了審計計劃、實施、報告和跟蹤等各個環節,以確保整個審計過程的順利進行。審計全流程管理的核心是建立完善的審計制度和流程,明確各個環節的責任和權限,以及確保信息的準確性和保密性。通過審計全流程管理,可以提高審計工作的質量和效率,減少潛在的風險和錯
4.審計資產管理
審計資產管理是企業管理中至關重要的一環。通過審計資產管理,企業能夠全面了解自身的資產狀況,包括資產的種類、價值、使用情況等。審計還可以幫助企業發現資產管理中存在的問題和風險,及時采取措施加以解決,從而保障企業資產的安全和有效利用。審計資產管理需要專業的團隊和系統化的方法,確保審計結果的準確性和可靠性。只有通過不斷地審計和監管,企業才能有效地管理和保護自身的資產,實現長期穩健的發展
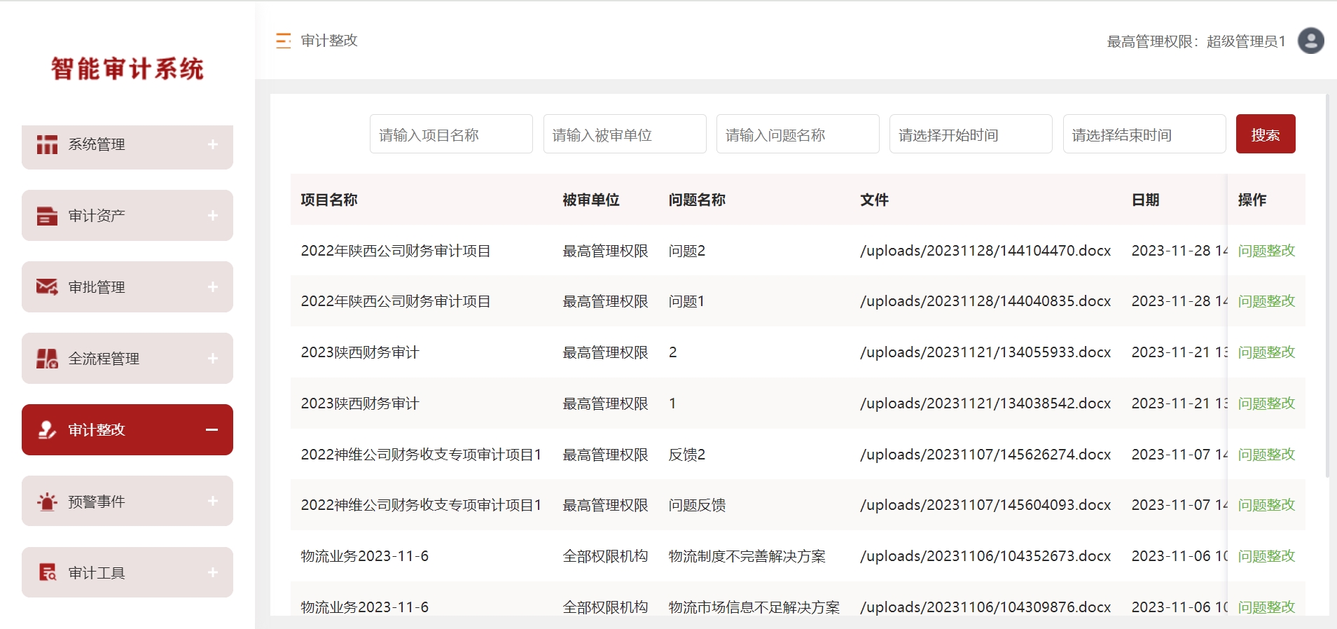
5.審計整改與自動追蹤
審計整改與自動追蹤是企業管理中至關重要的環節。審計整改是指根據審計結果對存在的問題進行改進和完善,以確保企業運營的合規性和高效性。而自動追蹤則是利用先進的技術手段對企業運營數據進行實時監測和分析,及時發現問題并進行處理。通過審計整改與自動追蹤的結合,企業可以及時發現并解決問題,提高運營效率,降低風險,增強管理水平,進而實現可持續發展。因此,企業應該重視審計整改與自動追蹤工作,不斷優化和提升管理水平。

6.審計審批與工作監督
審計審批與工作監督是組織內部控制的重要環節,對于確保公司運營的合規性和高效性至關重要。審計審批主要是指對公司財務數據和業務流程的審查和批準,以確保其準確性和可靠性。而工作監督則是指對員工的工作表現和行為進行監督和評估,以確保他們遵守公司政策和規定,提高工作效率和質量。通過嚴格的審計審批和有效的工作監督,公司可以及時發現和糾正問題,提升整體運營水平,增強競爭力。

- 上一篇: 糧食采購軟件平臺
- 下一篇: 大數據集群運維管理系統

掃一掃